原標題:從5G手機看手機天線的前世今生
5G的到來也給手機天線帶來了巨大的挑戰,天線對手機起的作用,類似于人的眼、耳、喉。隨著移動通信技術的持續發展,手機的“眼、耳、喉”也在不斷變化,本文主要通過三部分來講述手機天線的演變。
隨著華為、中興、小米等公司5G手機的發布,三大運營商5G商用套餐正式上線,5G時代已經轟轟烈烈地走來了,5G的超快速度、超高帶寬、超低時延,將對原來的移動互聯網進行全面的改造,對整個世界帶來全新的改變。
5G的到來也給手機天線帶來了巨大的挑戰,天線對手機起的作用,類似于人的眼、耳、喉。隨著移動通信技術的持續發展,手機的“眼、耳、喉”也在不斷變化,發展歷程可大致分為外置天線、內置天線、金屬邊框、MIMO天線、毫米波天線。以下主要通過三部分來講述手機天線的演變。
1、外置天線去哪了
文獻US2439411A公開了最早的手機天線結構,該專利由摩托羅拉于1944年申請,如下圖所示,最初用于戰地通信中。

在80年代,移動電話通常指的是這種設備:

這種手機誕生之前的設備有著行李箱式的外形,依靠內置電池或者汽車的電力系統供電,重達8斤,售價與承載它的汽車價格相當。從圖中明顯可以看出鞭狀的外置天線豎立在移動電話上。
此時天線并不需要復雜的設計,大部分為全向的單極天線。畢竟以當下的觀點來看,在那個年代整個移動通信網絡都是比較簡單的,天線的收發電路通常是模擬信號電路,只要保證能在任意方向收到信號即可。
小百科之單極天線:

單極天線是豎直的具有約四分之一波長電長度的天線,將上圖左側的偶極的下臂等效成接地面發展而來。在自由空間中,四分之一波長單極天線在垂直平面上的輻射方向圖與半波偶極天線在垂直平面中的方向圖形狀相似,但沒有地下輻射。在水平面上,垂直單極天線是全向性的。將線狀輻射振子彎折即可得到倒L天線,將線狀輻射振子擴展為平面狀即可得到平面單極天線。

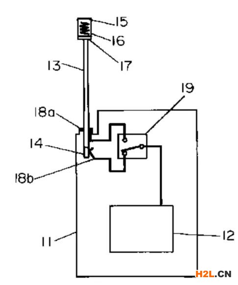
1983 年出現了第一部手持式的無線電話:摩托羅拉 Dyna TAC。其采用的天線結構就是外置天線的典型代表。典型的外置天線采用單極子天線設計,在與工作頻率波長有關的特定電長度下諧振。外置天線由于設置在手機殼體之外,受殼體的體積限制較小,受手機內部電子器件的影響也較小,因此可以獲得優異的無線通信性能,從而廣泛應用于2G時代的手機。此時的外置天線不僅能實現與數公里外的基站通信,甚至還能實現與衛星的通信。如Ericsson R190雙模手機,其設計了可以拆裝的超大外接天線,在手機上就能夠實現衛星電話。如下圖所示,這種外置天線即使已經采用了超小型的螺旋天線仍非常巨大。



外置天線的缺點是顯而易見的,尺寸大、易損壞、不美觀等。為了更好地收納外置天線,業界將天線設計為能夠通過特定機械結構伸縮、旋轉使其更好地收納在手機中,并通過匹配電路的設計縮短天線的長度。例如拉桿伸縮天線、金屬螺旋天線、旋轉天線等形式。專利文獻US006054959A、JPH08213817A公開了常見的外置天線結構。

US006054959A

JPH08213817A
為了克服外置天線物理上的上述缺點,隨后出現的手機天線逐漸發展為內置天線。

Hagenuk公司于1996年推出的Hagenuk Globalhandy被認為是業界首款內置天線[1]。其采用縫隙作為輻射單元,僅支持GSM900頻段。
諾基亞設計的直板手機 Nokia 3210 中采用的內置天線為更典型的內置天線,即平面倒F天線(PIFA,Planar Inverted-F Antenna)。長久以來諾基亞手機能砸核桃的質量被人津津樂道,而諾基亞手機的天線設計也是業界標桿。諾基亞曾在一份官方聲明中表示“在諾基亞手機正式投放市場之前,我們會進行人工測試,其中包括用戶通話過程中握機方式、音樂播放、網絡瀏覽及其他活動。如果我們計劃推出的某款手機天線性能與外觀設計相沖突,我們將把天線性能放在首位”。
諾基亞先設計天線再設計手機的理念影響了很多廠商。在很長一段時間內諾基亞擅長的PIFA天線都是手機內置天線的第一選項。例如專利文獻EP1615293A1、US2002135521A1中示出了手機中典型的PIFA天線。PIFA天線的優點有很多:體積小,頻帶寬,增益高,SAR值很低。但其輻射平面到地面的剖面高度一般不能低于 6 mm。隨著超薄手機的流行,PIFA天線不再適用于手機內置天線的設計。

EP1615293 A1

US2002135521 A1
小百科之PIFA天線:


PIFA(Planar Inverted-F Antenna)天線是倒F天線IFA(Inverted-F Antenna)的平面形式。倒F天線(IFA)是由倒L形單極子天線增加一個接地路徑得到。IFA天線具有一個饋電點和一個接地點,由于其側視圖為倒F形,所以被稱為倒F天線,倒F天線最大的優點就是可以改變饋電、接地位置,將輸入阻抗調整至50歐姆。
2、尺寸與性能的博弈
從IFA/PIFA天線出現到現今的4G手機,對天線設計而言主要是天線數的增加和頻段數的增加。如下圖所示,通常為GSM、WIFI、GPS應用分別單獨配置一個天線和相關的處理電路,分別布置在手機PCB板的不同位置。為了在單個天線模塊上產生多種頻段,采用多條蜿蜒的走線,通過寬度、長度變化實現多種不同的諧振路徑從而產生多個工作頻段。又例如通過無源的寄生金屬片與有源的輻射單元耦合以展寬帶寬或者提供另一諧振路徑,從而獲得更寬的工作頻段等。采用上述手段的天線底層本質上并無太大的變化,還是基于PIFA或者IFA天線形式。


這一切直到2010年6月蘋果公司發布的iPhone 4才有了重大突破。iPhone 4獨具匠心地將手機天線和位于手機厚度方向中間的邊框整合在一起,玻璃材質機身和銀灰色金屬邊框天線的結合讓iPhone 4猶如藝術品一樣優雅漂亮。iPhone 4的天線被設計在手機的最外延但是又不像外置天線一樣產生向外的突起,這使得手機天線在功能和外形上得到了很好的平衡。


如上圖所示,iPhone 4的金屬邊框被設計為兩段,一部分負責WiFi、藍牙和GPS頻段的輻射,另一段實現UMTS/GSM手機網絡的輻射。在iPhone 4問世后全球各大主流手機生產商也紛紛推出了類似的金屬邊框天線的設計。專利文獻CN102684722A、 CN103794866A就給出了常見的手機邊框天線結構。

CN102684722A

CN103794866A
隨著消費者對手機多功能、高速率、小體積等方面的追求越來越高,手機內部電路系統越來越復雜,留給天線的設計空間越來越小。在廣告上我們能看到手機外觀纖薄,然而廣告卻沒有告訴我們為了讓手機的厚度減少1mm不得不犧牲了多少手機天線的性能。因為手機天線的尺寸直接影響了天線效率。
再加上市場需求也增大了天線設計的難度。例如用戶偏好金屬外殼的觸感和光澤,然而金屬是導體,在金屬物體靠近天線時,由于電磁耦合產生的寄生電容效應會使得天線的諧振頻率產生漂移。三星的旗艦手機Galaxy系列長期以來都被詬病“萬年塑料殼”,直到2015年發布的Galaxy S6才使用金屬外殼。
采用金屬外殼的手機天線需要根據實際情況作出特別的設計和調整。例如全球首款全金屬智能手機HTC One,為了使得天線能夠工作在特定頻段,在機身背殼上有明顯的白色縫隙用以隔離出天線區域,天線饋電點跨接在槽的兩邊。隨后蘋果公司的iPhone 6也采用了類似的設計,但是難看的白邊被用戶吐槽了許久。然而這條白邊實際上是為了使得天線與手機金屬外殼共存而做出的妥協。


3、5G時代
5G的頻段分布基本以6GHz為界,低于6GHz一般稱之sub-6GHz頻段,而高于6GHz則常稱之毫米波(mm-Wave)段。海量的機器式通信(mMTC)與超高可靠性低延時通信(uRLLC)主要使用sub-6GHz頻段,其天線設計與3G、4G時代的天線并無明顯差異,主要是在面對5G更顯著的MIMO需求時,天線數量增多所帶來的隔離度問題。而增強的移動寬帶(eMBB)要求更高的數據傳輸速率,通信系統軟件方面的改進已無法顯著提升速率,因此5G選擇了將工作頻段提升至毫米波頻段。毫米波頻段此前多為軍用,例如雷達。因此雷達的相控陣,波束賦形等技術也被引入到手機天線設計當中。毫米波天線與此前的天線設計主要差異在于毫米波天線通常為天線陣列,能夠通過收發機靈活控制陣列中的每一個陣元的幅度和相位,從而控制天線陣列的波束指向。
但是PIFA天線并不會在5G時代消失,因為每一代移動通信網絡的升級都需要“向下兼容”。即5G手機中,此前4G/3G的功能都會同時存在。例如MIMO是LTE的重要特征,5G中使用sub-6GHz頻段的天線將繼續沿用并優化MIMO技術。專利文獻CN108321498A、CN110235308A示出了典型的手機MIMO天線結構。

CN108321498A

CN110235308A
小百科之MIMO天線:

最早出現的是SISO:單輸入單輸出( Single Input Single Output ),基站和手機各一根天線,你發我收,而隨之容易想到的是采用兩根天線豈不是就能獨立發送兩路數據,速度翻倍,隨后MIMO(多輸入多輸出Multiple Input Multiple Output)天線應運而生。如上圖所示,為2×2MIMO,這樣基站和手機之間就有4條傳輸路徑了。與單天線系統相比,MIMO天線可提高鏈路可靠性并降低衰減。
MIMO天線在同一物理外殼中設置兩個或兩個以上的天線,并設計用于IEEE 802.11n/ac Wi-Fi網絡。通過使用多個天線,MIMO天線能夠在相同無線電發射功率下實現高于單個天線的吞吐量和傳輸距離。MIMO技術大致可以分為兩類:發射/接收分集和空間復用。
5G的毫米波天線將額外設計輻射單元。為了產生諧振需要將手機天線配置為特定電長度,如四分之一波長。頻率越高,波長越短,天線所需要的電長度就越短,天線尺寸就更緊湊更有利于整合到手機中。如下圖的專利文獻CN108400426A公開的毫米波天線所示,天線3的尺寸相比于2G-4G的手機天線,尺寸明顯縮小。然而毫米波存在劇烈的空間損耗,5G毫米波的波束還需要在特定范圍內能夠掃描,因此對電磁波具有干擾作用的導電金屬外殼即將成為歷史,采用3D玻璃外殼的手機將會是未來的主流方向。


縱觀手機天線的發展,其技術改進一直是被用戶的需求所推動,并綜合各種因素的考慮作出平衡的設計。雖然我們越來越難以注意到手機天線的存在,然而在即將到來的5G時代,其仍將扮演重要的角色。
參考文獻:
[1] C. Rowell and E. Y. Lam, "Mobile-Phone Antenna Design," in IEEE Antennas and Propagation Magazine, vol. 54, no. 4, pp. 14-34, Aug. 2012.
[2]L. J. Chu, "Physical limitations on omni-directional antennas", J. Appl. Phys., vol. 19, pp. 1163-1175, Dec. 1948
[3]R. C. Hansen, "Fundamental limitations in antennas", Proc. IEEE, vol. 69, pp. 170-183, Feb. 1981
[4]J. S. Mclean, "A re-examination of the fundamental limits on the radiation Q of electrically small antennas",IEEE Trans. on Antennas and Propagation, vol. 44, NO. 5, May 1996
中企檢測認證網提供iso體系認證機構查詢,檢驗檢測、認證認可、資質資格、計量校準、知識產權貫標一站式行業企業服務平臺。中企檢測認證網為檢測行業相關檢驗、檢測、認證、計量、校準機構,儀器設備、耗材、配件、試劑、標準品供應商,法規咨詢、標準服務、實驗室軟件提供商提供包括品牌宣傳、產品展示、技術交流、新品推薦等全方位推廣服務。這個問題就給大家解答到這里了,如還需要了解更多專業性問題可以撥打中企檢測認證網在線客服13550333441。為您提供全面檢測、認證、商標、專利、知識產權、版權法律法規知識資訊,包括商標注冊、食品檢測、第三方檢測機構、網絡信息技術檢測、環境檢測、管理體系認證、服務體系認證、產品認證、版權登記、專利申請、知識產權、檢測法、認證標準等信息,中企檢測認證網為檢測認證商標專利從業者提供多種檢測、認證、知識產權、版權、商標、專利的轉讓代理查詢法律法規,咨詢輔導等知識。
本文內容整合網站:中國政府網、百度百科、搜狗百科、360百科、知乎、市場監督總局
免責聲明:本文部分內容根據網絡信息整理,文章版權歸原作者所有。向原作者致敬!發布旨在積善利他,如涉及作品內容、版權和其它問題,請跟我們聯系刪除并致歉!






